According to the US Patent and Trademark Office, Ford Motor Company filed a patent for an 11-speed gearbox early October 2013. When pressed for details of the company’s plans for the new transmission, Ford spokesman Paul Seredynski let very little go, stating, “as a technology leader, we submit patents on innovative ideas as a normal course of business. Patent submissions help protect our new ideas but do not necessarily indicate future business or product plans.”
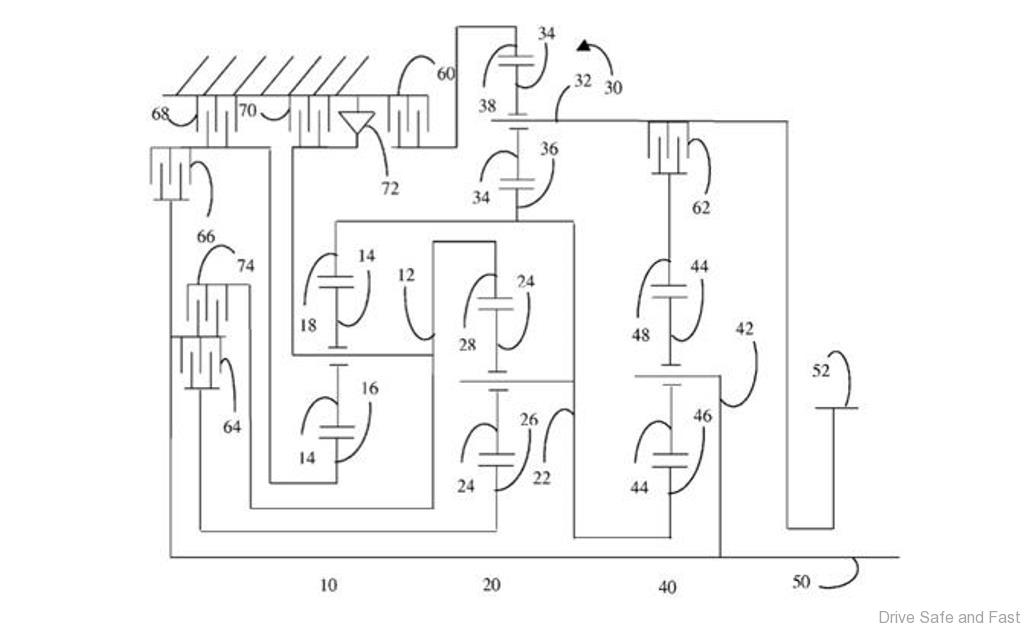
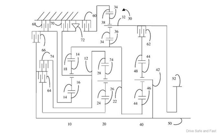
The patent, which describes “a transmission gearing arrangement produces eleven forward speed ratios and one reverse speed ratio by selective engagement of three shift elements in various combinations” has the rumour mill going. The company’s most recent iteration of the F-150 Raptor sports pick-up truck in the Unites States, with its 3.5 litre twin-turbo Ecoboost V6, already features an already impressive 10-speed automatic.
It may have been easier and cheaper for Ford to have modified that gearbox to improve mileage, but perhaps the engineering limits of the F150’s 10-speed had already been stretched, necessitating an extra ratio.
Here’s what the new gearbox design features: the first embodiment has four simple planetary gear sets, four clutches and two brakes. The second has three simple planetary gear sets, two axis transfer gear pairs, four clutches and two brakes. The final embodiment receives four simple planetary gear sets, four brakes and two clutches.